Ford Escape: Rear seats
Second row adjustable head restraints
Your vehicle is equipped with second row outboard and center head restraints that are vertically adjustable.
WARNING: To minimize the risk of neck injury in the event of a
crash, the driver and passenger occupants should not sit in
and/or operate the vehicle, until the head restraint is placed in its
proper position. The driver should never adjust the head restraint
while the vehicle is in motion.
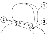
The adjustable head restraints
consist of :
• a trimmed energy absorbing foam
and structure (1),
• two steel stems (2),
• a guide sleeve adjust/remove
button (3),

To adjust the head restraint, do the following:
1. Adjust the seatback to an upright driving/riding position.
2. Raise the head restraint by
pulling up on the head restraint.

3. Lower the head restraint by pressing and holding the guide sleeve adjust/remove button and pushing down on the head restraint.

Properly adjust the head restraint so that the top of the head restraint is even with the top of your head and positioned as close as possible to the back of your head. For occupants of extremely tall stature, adjust the head restraint to its full up position.
WARNING: The adjustable head restraint is a safety device.
Whenever possible it should be installed and properly adjusted when the seat is occupied.
To remove the adjustable head restraint, do the following:
1. Pull up the head restraint until it reaches the highest adjustment position.

2. Press and hold the adjust/remove button, then pull up on the head restraint.

To reinstall the adjustable head restraint, do the following:
1. Insert the two stems into the
guide sleeve collars.
2. Push the head restraint down
until it locks.

Properly adjust the head restraint so that the top of the head restraint is even with the top of your head and positioned as close as possible to the back of your head. For occupants of extremely tall stature, adjust the head restraint to its full up position.
WARNING: To minimize the risk of neck injury in the event of a
crash, head restraints must be installed properly.
Folding down second row seats
1. Remove the second row head restraint. See Second row adjustable
head restraints in this chapter.
Note: Place the head restraint underneath the back of the front seat
for storage.
2. Pull the seat release strap.

Note: Make sure the floor is clear of all objects before folding the seat.
3. Flip seat forward.

Attach the safety belt web snap button to the quarter trim panel snap button. This will ensure that safety belt does not get caught by staying out of the seat back folding path.

4. To release seatback, pull the seatback release lever (on top of seat) toward the front seat. This is common for both 60% and 40% seatbacks.
Note: When the seatback release lever is pulled, slowly lower seatback to the flat position.

5. Rotate seatback down into load floor position.

Returning the second row seats to upright position
1. Pull seatback up and into upright position making sure seatback locks into place and the red seat unlatched indicator on release paddle is not visible.

2. Rotate seat cushion down into the seating position making sure that the seat cushion is locked into place and that the safety belt buckles are exposed.

WARNING: Make sure
safety belt buckle heads are
through elastic holders on seat
backs. Safety belt buckles may
break if they are trapped
underneath the seatback as the
seatback is rotated down.
WARNING: Before returning the seatback to its original
position, make sure that cargo or any objects are not trapped
behind the seatback. After returning the seatback to its original
position, reinstall the head restraints, and pull on the seatback to
ensure that it has fully latched. An unlatched seat may become
dangerous in the event of a sudden stop or collision.
3. Unsnap the safety belt webbing from the quarter trim panel.
4. Remove the second row head restraint from underneath the front seat
and reinstall. See Second row adjustable head restraints in this
chapter.
To remove the second row cushion
1. Lift the yellow tab to release the
hinges.
2. Pull the cushion to the outboard
side of the vehicle.

To install the second row cushion
1. Push the cushion to the inboard
side of the vehicle.
2. Make sure that the hinges are
locked into place.

See also:
Immobilizer system
Your vehicle is equipped with an electronic engine immobilizer system to reduce
the risk of unauthorized vehicle use. Your immobilizer system is comprised of a
small transponder in the ignition key, and antenna coil in the key cylinder and
Immo ...
Moon roof (if equipped)
You can move the glass panel of the moon roof back to open or tilt up
(from the closed position) to ventilate the vehicle.
WARNING: Do not let children play with the moon roof or leave
children unattended in the vehicle. They may seriously hurt
...

Front Seats